For today’s topic of discussion, the title tells you 50 percent of what you need to know. The Mazda engineering zaniness and the filed U.S. patent (US 2022/0034265 A1) tells you another 10 percent or so, clearly illustrating that the Japanese automaker in question is indeed serious about exploring this overlooked and underutilized side of automotive internal combustion engine design.
But what about the remaining 40 percent? Well thanks to an overly simplified animation and breakdown from Ft-share International on YouTube, things become a little more clear. And while the news of this patent broke back in 2022, no one has taken the time to illustrate how this patent works or break it down into such a digestible explanation.
On a side note, it is admirable that Japan’s smallest automaker continues to think outside the realm of conventionality, all while refraining from throwing an electric assist motor at the situation just like everyone else.
So, what makes this design so superior to some of the other engines Mazda has on deck, like the utterly unique new rotary engine it just cooked up, or the Skyactiv-X scavenger?

Listenin’ to The Strokes
Since traditional 2-stroke designs require that each rotation of the crankshaft results in one ignition cycle, air intake and fueling passageways are set to stay open based upon piston movement. What this design lacks in control, it more than makes up for in efficiency, as the crankshaft needs but a single rotation to accomplish a complete combustion cycle, whereas a 4-stroke design takes two rotations to achieve the same. It also doesn’t require cam timing or anything overhead valve-related, so it is a lighter and far less bulky design.
However, 2-stroke powerplants require mixing fuel with oil to make this combustion process work, and it has long been known that separating the two results in a cleaner burning combustion cycle and lower maintenance woes over time. But that means switching over to a 4-stroke engine design, which is far more complex and cumbersome.
But being that a 4-stroke packs perks like an exhaust system for improved efficiency and lower greenhouse gases, variable valve timing, greater oiling and cooling capacities, and much more, it only makes sense that Mazda would siphon what it could from its existing engineering portfolio. More on that in a few…

In the meantime, we should probably discuss the obscurity that is the 2-stroke diesel design, which is indeed a thing, but primarily serves as an industrial application. This engine configuration does not rely upon crankcase ventilation for combustion cycling, favoring a belt-driven supercharger instead, along with an exhaust valve for cleaner combustion and expulsion.
Looking to obtain the best of both worlds, Mazda has taken various elements from all of these designs and plugged them into a single patent. A 2-stroke engine with 4-stroke Mazda Skyactiv valvetrain smarts, high-compression diesel EGR scavenging techniques, and a supercharger, sending power to the pavement every revolution. So, how does it work? And if so, is it feasibly scalable?

2 + 4 = Diesel Engine?
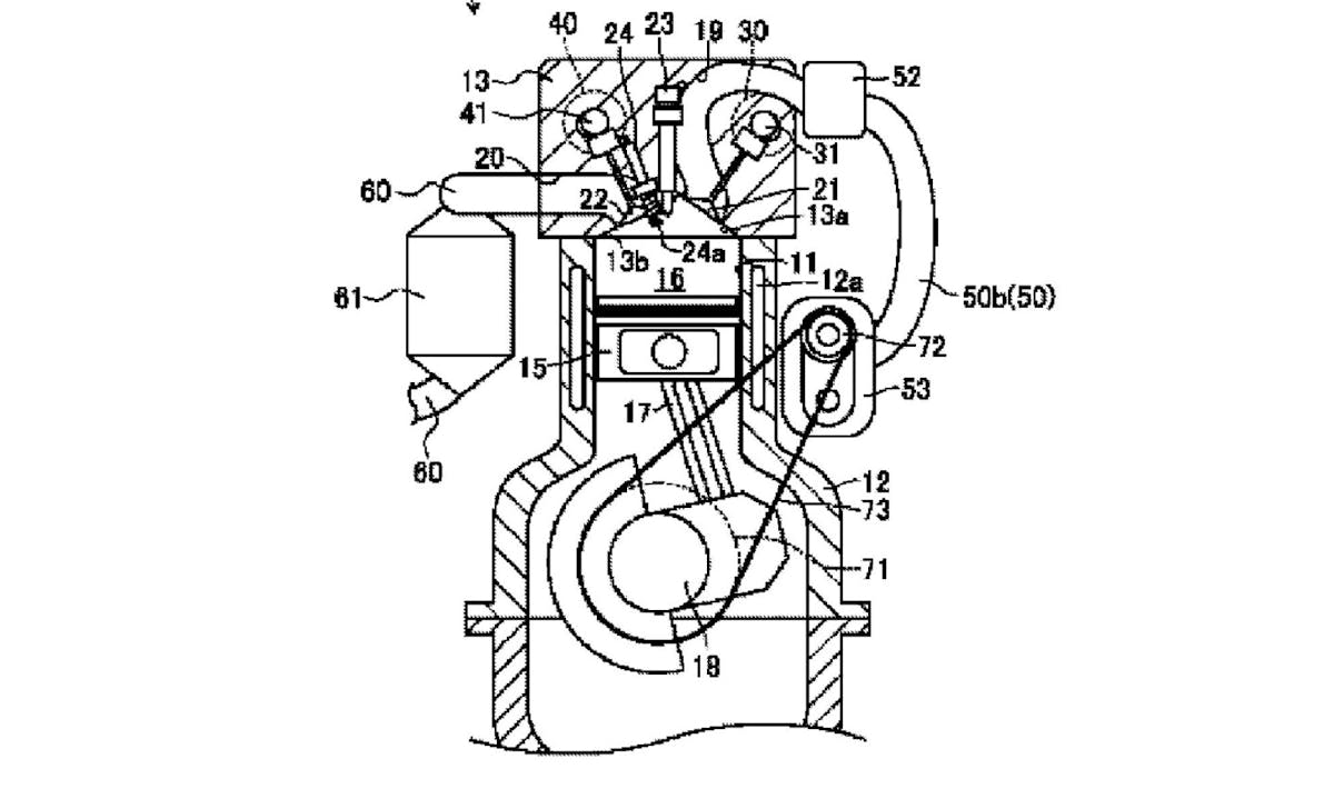
Unlike the average 2-stroke engine, Mazda’s patent relies upon an internal valve design that is part of the combustion process, with no oil mixing being required for operation. A camshaft, as well as both intake and exhaust valves, are utilized, along with a belt-driven compressor similar to what you see on supercharged 2-stroke diesel engines.
The intake valve seats are equally unique, in that they are machined to channel compressed air toward the cylinder wall, which results in superior scavenging. Basically, as the intake valve opens, exhaust fumes from the previous cycle are forced out the opposite side of the chamber by the fresh air. Since this all happens simultaneously due to both the crankshaft and camshaft rotating at the same pace, a 2-stroke cycle is maintained.
But being that this is a modern automotive engine design intended for road-worthy automobiles, Mazda has opted to supply a variable camshaft for full EGR and timing control. This provides the perk of exhaust retention within the combustion chamber during low-RPM scenarios, resulting in increased compression, better efficiency, and more power. Furthermore, this gives the powerplant enough heat and compression to keep firing without a spark, like a diesel engine.

Much like a diesel engine, combustion pressure figures for this design likely top 700 bar (10,152 psi), which is easily triple that of conventional gasoline designs. Potential benefits are better mileage gains at lower speeds, cleaner combustion, and an air-to-fuel ratio that hits 14.7:1, at least on paper.
The result could be an engine that can keep cycling on whatever spent fumes are still inside the combustion chamber under low loads, requiring little more than a splash of fresh fuel and a dash of oxygen to stay active. Mash the throttle though, and that blower would immediately get to work, along with all of the valves, spark plugs, and Skyactiv variable timing systems.
Now as for what real-world efficiency levels and practical implementation might look like, as well as maintenance and production costs, that’s anyone’s guess. This leads us to some of the concerns (and acclaim) that are being directed at this hybridized engine design.
2-Stroke of Genius, or Just Another Mazda Patent Miscue?
Now, we can’t get through this entire article without recognizing the fact that Mazda isn’t the first to pursue the 2-stroke/4-stroke Frankenstein design. An Australian company out of Perth, called Orbital, spent decades developing something very similar for the automotive sector, only to see it all fizzle in the late 1990s. The company is still around, it just utilizes its technologies in military drones nowadays.
The combination of lower fuel efficiency ratings, greater pollution from oil premix/injection, and greater risk of experiencing high levels of both post 100,000 miles have made the exploration of 2-stroke automobile engines a dead-end endeavor. Hence you not hearing much on the topic until now.
But when combined with Mazda’s revolutionary new rotary engine, and all of the perks associated with Skyactiv-X valve timing and duty-cycle technologies, this new patent may be able to forge a new path previously unexplored.

What’s lost in horsepower due to lower RPM could easily be offset by adjusting valve timing in that speed range, allowing the amount of torque produced every stroke to retain a powerband similar to that found in diesel engines. In contrast, a nearly 15:1 compression ratio on a 4-stroke gasoline engine packing pump-gas would result in the mixture igniting from the compression long before the piston ever came close to reaching the top-dead-center position.
This high compression, combined with any residual heat scavenged from that advanced EGR tech could allow an extremely lean mixture to serve its intended purpose, all while still providing plenty of torque on the lower end, and 4-stroke power when the throttle is mashed. The addition of a second spark plug per cylinder like what’s seen on Skyactiv-X engines could also give the 2-stroke’s 4,000 rpm cycle (8,000 rpm in a 4-stroke) the ability to keep the juice flowing in high-demand situations.
Closing Patent Considerations
Speaking of ignition and combustion, there is some concern over the lifespan and cleanliness of those valves and seats due to carbon build-up. Contemporary four-stroke engines with direct-injection and EGR units are already bad enough as it is. Being that 2-strokes are notorious for fouling plugs, Mazda is going to have its hands full when it comes to implementing a clean burn that is equally long-lived.
Another concern would be the amount of heat this engine design would surely make, and the fact that mixture loss during scavenging when variable valve timing kicks in could cause issues.
Then there is the topic of fueling, for this design may still require port-injection to operate properly. The reason for this is that direct injection motors are known for prematurely fouling up intake valves and manifolds. Whereas a traditional port injection design does a far better job of keeping both fairly clean when Top Tier fuel is utilized.
And then there are those of us who like to work on our vehicles and the complexity that this sort of engine design brings to the table in regard to DIY maintenance and engine overhauls. Couple that with a supplemental Wankel rotary motor, and you’ve got one hell of a complicated, convoluted engineering mess on your hands. But the question is, will it work?

You might also like
Inside Ford Racing’s Return To Formula 1 Engines With EPARTRADE
EPARTRADE dives into Ford Racing's return to Formula 1 as an engine supplier, along with their numerous other engine development programs.