Engine builders have long toyed with the idea of designing an engine with different displacement cylinders. If the enormous technical challenges could be solved, then rewards of increased performance and efficiency could be achieved — theoretically.

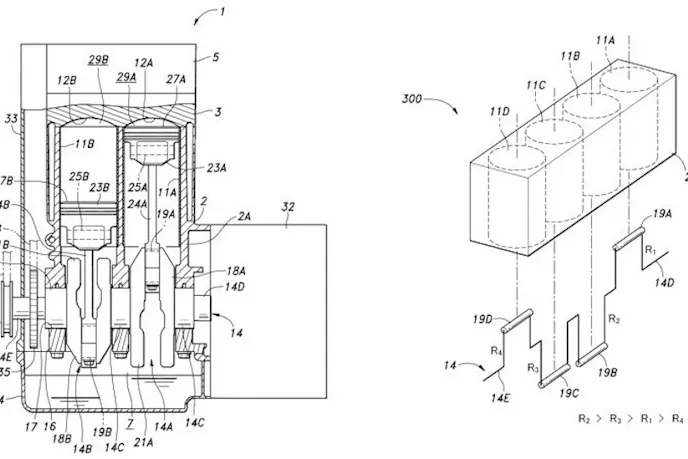
Honda is the latest to offer a solution. Published reports starting with a story in Autoguide say the automaker has applied for patent describing a variable displacement engine that is designed with different bore-stroke measurements for each cylinder. Combined with cylinder deactivation–which is the current and most popular method of variable displacement–the total displacement of the engine could vary as needed.
Increasing fuel economy is likely the motivation behind Honda’s project, but increased horsepower for racing and even cheating in racing has generated ideas for variable cylinder displacement in the past. First, the cheating. Some racers have built V8 engines exceeding the allowable displacement but left a single cylinder at a more traditional size that when multiplied by eight will equal a total displacement that falls within the rules. Then the engine bay is cluttered up enough that allows access only to the small cylinder. After the race, when tech inspectors come by to pump the engine, no one ends up being the wiser.
Aside from breaking the rules, racers have also wanted to challenge conventional wisdeom. If a V8 engine had two different-sized cylinders, then the engine should run better at a higher and lower rpm. In other words, run a big-bore, short-stroke 4-cylinder combo to increase high-end power, and run a small-bore, long-stroke 4-cylinder combo to improve low-end torque. You would also adjust valve timing to fully exploit the differences. That’s the theory but in reality there are just too many problems to overcome to make it work–not the least of which are the inevitable engine harmonic imbalances and violent vibrations.
Honda’s idea is somewhat similar but much more sophisticated. Let’s say it’s a 4-cylinder engine with different displacements for each cylinder. Using cylinder deactivation, engineers can choose from 15 different cylinder displacements at any time during the engine operation. Again, using variable valve timing and even variable compression ratio, the engine could be infinitely tuned to suit power, fuel economy or emissions needs.
Variable displacement is being tried in many different configurations. We’ve seen the Scalzo engine that completely deactivates the piston to change total engine displacement. And Engines Systems Innovation has an axial engine that can move the crankshaft to change stroke and displacement, as needed (see video below)
It’s all very exciting on paper. Making it work is the real challenge.
You might also like
PRI 2025: Trick Titanium Under New Ownership, And That's a Good Thing
Trick Titanium unveils refined high-performance titanium valves at PRI 2025, and how Noonan ownership is improving the business.