Every year, as the holidays roll around and our work year wraps up, we pause to look at the top ten articles, as determined by you, the readers. These ten features are the most-read articles published in 2024 and span the gamut of topics from simple engine maintenance topics to alternative internal combustion fuel, and even a few of our own engine build projects. So read on to see if your favorite article of the year made it into the top ten of 2024.
1. Pre-Filled Oil Filters: Proper Prep Or Premature Engine Killer?
This was far and away the top-performing article of 2024. Really, that should come as no surprise, as we saw our friend Lake Speed Jr.’s new channel, The Motor Oil Geek, absolutely explode in popularity, with this video garnering 3.3 million views on YouTube alone. The fact is, Speed saw the debate on pre-filling the oil filter in all his years as a tribologist, and decided to put everything to the test to hopefully settle the debate once and for all. The results of Speed’s testing are pretty conclusive, but we’re not going to spoil it for you.
2. New Yamaha Engine Revs Like Mad And Is Reinforced With Plant Resin
Hot on the heels of the oil filter article in the year-end standings is the piece from back in April about Yamaha’s new high-revving 1.9-liter four-cylinder marine engine. The engine has a rev limit of 7,600 rpm from the factory and is designed as part of a water-jet propulsion system. The engine has a host of new features, including the use of high-strength Cellulose Nanofiber (CNF) plant-based resins in the production of exterior components of the engine. We’re not sure if it’s the RPM or the plant-based resin that drew so many of you in, but we’re hoping it’s the RPM.
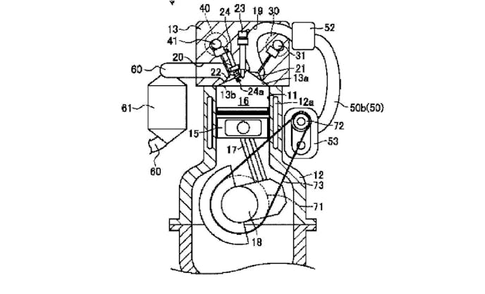
3. New Mazda Engine Patent For A Supercharged 2-Stroke Skyactiv Engine
In the number-three spot on the top ten list for 2024 is the article we wrote discussing a patent filed by Mazda, for a supercharged two-stroke Skyactiv engine. Mazda announced a new rotary engine in 2023 proving they are not afraid to think outside of the box when it comes to looking for the next great thing in today’s efficiency-conscious market. In this patent, they took design cues from a lot of different two-stroke as well as four-stroke engines. While there is a lot of speculation and assumption in the article, it’s a great read, and you all agreed pretty wholeheartedly.
4. Ford’s Aluminum 32-Valve Flat-Plane V8 From 1940s — The GAA Engine
Obviously, the first seven words of the title (“Ford’s Aluminum DOHC 32-Valve Flat-Plane V8”) immediately evoke the thought of the Shelby GT350’s 5.2-liter Voodoo engine. However, the last three words (“From The 1940s”) might throw you for a loop. This article’s headline really drew a lot of attention. Hopefully, readers didn’t find it clickbaity, but instead got a nice look into the WWII tank engine. The Ford GAA engine is an incredible engine, and was an absolute rockstar in its day. Even today, the engine is impressive, especially when you re-read the title and realize it’s 100-percent accurate.
5. 100 Horsepower Per Piston: The 3-Cylinder Toyota G16E-GTS Explained
Sometimes it’s not all about big displacement around these parts, and you guys proved that by absolutely devouring this article on Toyota’s latest pocket rocket powerhouse. The G16E-GTS powers Toyota’s GR Yaris and has held the distinction of being the most powerful production three-cylinder engine as well as the most powerful product 1.6-liter engine on the market. Toyota didn’t achieve those feats just to place a feather in their cap or even to sell cars. The engine was developed for the highly competitive World Rally Championship, and consumers happened to be the benefactors of the killer technology.
6. Dyno Testing The 100-Percent Hydrogen-Powered H2-ICE Race Engine
As you can tell, we not only aren’t afraid of alternative fuels in internal combustion engines, but we find them incredibly interesting and packed full of potential. As hydrogen combustion approaches mainstream acceptance as an alternative fuel, we are always excited to report on a race engine that operates on 100-percent gaseous hydrogen. Not only is this article covering the engine itself, but also the fact that it completed rigorous dyno testing and evaluation as it made more than 200 horsepower per liter with a BMEP right at 32.0 bar. That’s nothing to shake a stick at!
7. Building An 8,000-RPM LS — LS5.0’s Short-Block Comes Together
LS5.0 has been a long time coming. This year, we finally saw the bare block get transformed into a complete short-block, and then a complete engine. Apparently you guys were just as eager to see it all come together as we were, as just the short-block article took the seventh spot. If we combined the top-end article as well, this would be in the fifth spot on the 2024 top ten list. Besides being the first of our own build series to be documented on our YouTube channel, this project asks (and hopefully) answers a lot of questions about what can be achieved in a home shop on a pretty strict budget thanks to today’s technology.
8. Testing Torque Wrenches — Cheap Vs. Not Cheap: Does Cost Matter?
When Intercomp sent their Digital Torque Wrench Tester over as a Tool of the Month, we never thought that grabbing all of the torque wrenches around the shop and testing them would net the eighth most popular article of the year. The results were surprising in that the most accurate and the least accurate torque wrenches tested were the same brand. The cool part about this, is that we’re going to continue to test torque wrenches as they enter our collection and our list of data will continue to grow.
9. Is Running A ProCharger On A Top Fuel Nitromethane Engine Possible?
This article was an incredible thought experiment that, really, should be far higher on this list. After ProCharger’s unmitigated success in the Pro Mod world, the next step is obviously to get into the Top Fuel game. While the NHRA rules don’t allow a centrifugal supercharger to be run in Top Fuel Dragster and Top Fuel Funny Car, there are some “outlaw” series with racers who are open to the idea of seeing this “what if” can be turned into real life. The science is there, and ProCharger genuinely believes it could work, even going so far as to be worried they could be “too fast.”
10. Smashing The Jeep Inline-6 World Record While Trying For 1,000 HP
Oftentimes, when our friend Jeff Huneycutt over at The Horsepower Monster posts a video, we know that it’s going to be a fun watch and an interesting story. That’s why we share them with you guys so often. This particular journey involved Keith Newcomer and his quest to break his own record for the most horsepower ever gotten out of a Jeep inline-six engine. As a secondary record, he wanted to be the first person to ever break into the four-digit horsepower range with a 4.0-liter (well, 4.6 liters, actually) Jeep engine. His quest wasn’t simple but in the end, not only did he smash the 1,000-horsepower mark, but he also ended up as number 10 on our 2024 top ten list of most popular EngineLabs articles.
You might also like
EngineLabs Tool Of The Month: Speedway Motors’ BlockDock
The unsung heroes of the shop, this new line of BlockDock lift plates and engine cradles are high-end tools to move and store your engine.









