Legendary driver and builder of the All American Racers Eagle racecars, Dan Gurney, recently received a US Patent for a “moment-cancelling 4-stroke engine” and is now promoting the development of this unique concept.

“We’ve embarked on another substantial journey. We are designing and building a brand new motorcycle engine,” Gurney posts in a letter that opens the engine’s new website. And he adds that this engine design could be applied to cars, airplanes, boats and other forms of transportation.
Gurney, now 84, says his goal is to make an internal combustion engine more competitive with electric power. To that end, he’s designing a new engine with minimal vibration.
“My experience is that things vibrate for a while, then fatigue and fall off or fall apart, like wires and lights and ignitions and exhaust systems, “ he writes on the webpage. “I also have learned that there are many ‘rules of design’ that cause compromises. Generally if you make a very high power for a certain size reciprocating engine, then you compromise the endurance and or the trouble free performance. High RPM or high average piston speeds causes shorter life expectation for components.”

The guiding principle behind the moment-cancelling engine, or MC4S, is counter-rotating crankshafts. The first prototype is a 1,800cc vertical twin—although in the patent application there are a number of scenarios for different configurations. Much of the application presents ranges of generally accepted 4-stroke design principles. For example, this graph discusses piston speed and compression ratio:

“In some embodiments, an average piston speed is less than 4200 feet per minute. In some embodiments, a compression ratio of the engine is between 9.1 and 13.5. In some embodiments, an over-square ratio of the engine is greater than 1.0. In some embodiments, an over-square ratio of the engine is 1.78.”
However there is a section that details the “preferred embodiment” of the engine. It features aluminum construction with Nikasil-coated cylinders. The cylinder head is secured with seven bolts and sealed with a Cometic MLS gasket.
“The configuration of one preferred embodiment includes a 5.0 inch bore diameter with 2.8 inch stroke,” says the application.
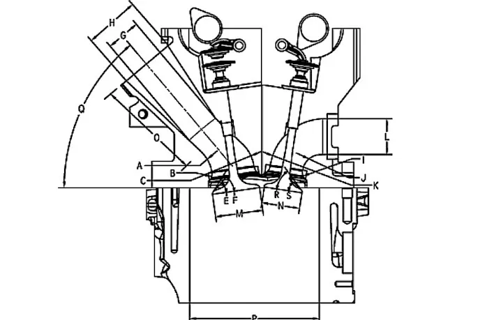
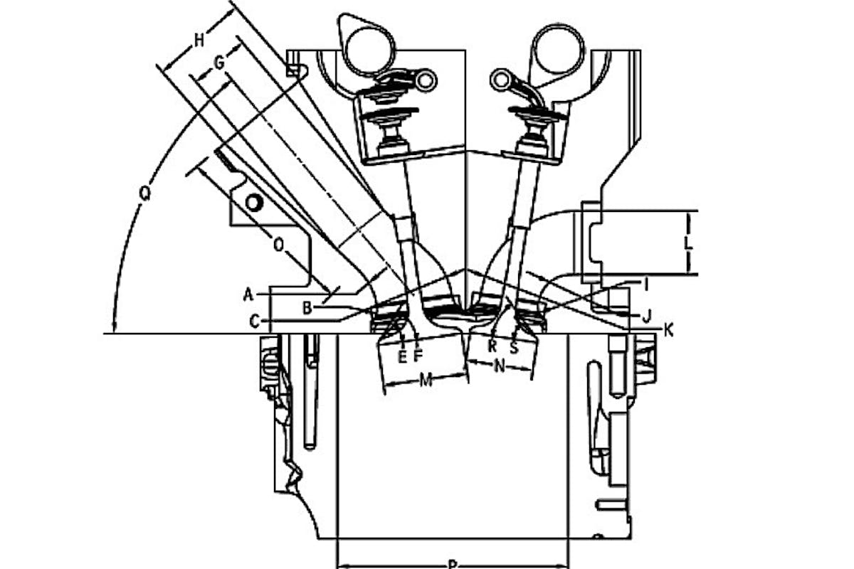
Considerable work has gone into cylinder head design, if we read the application correctly.

“In some embodiments, the double tapered intake port preferably has a curved transition on the longer side of port to help offset the air volume of valve stem. In addition, on the short side of the port, the radius of the port transition preferably expands slightly to meet the valve seat. These ‘pigeon toe ports’ enhance the burning of extra lean mixtures and significantly improve combustion.”
The engine would also feature variable cam timing and throttle-by-wire.
The two crankshafts are synchronized by meshed gears, and the counter-rotating operation would help increase bearing life and reduce vibration.
Gurney says the first of five prototypes is scheduled to be on a test rig by the end of 2015.
“I want potentially interested people or organizations to be aware of what we are attempting to demonstrate. So far, we only have simulation data, which we are working with, but it all looks very good.”
You might also like
The Boreham Ten-K: A 10,000 RPM Naturally-Aspirated Powerhouse
Uncover the Boreham Ten-K engine, a high-revving 2.1-liter naturally aspirated powerplant delivering 325 horsepower at 10,000 RPM.
