
BMW recently submitted a pair of interesting W3 engine designs to the World Intellectual Property Organization for the patenting process. Intended use is currently up in the air – there are no products on the visible horizon slated for production, but the patent filing is interesting nonetheless.
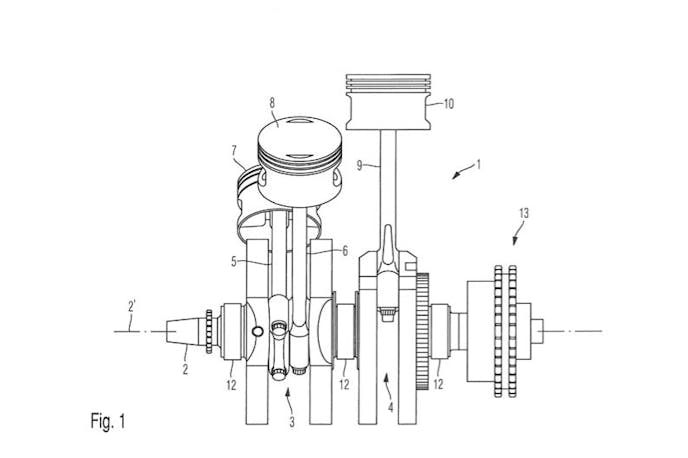
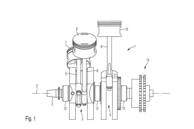
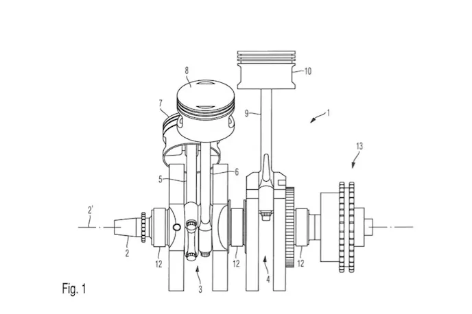
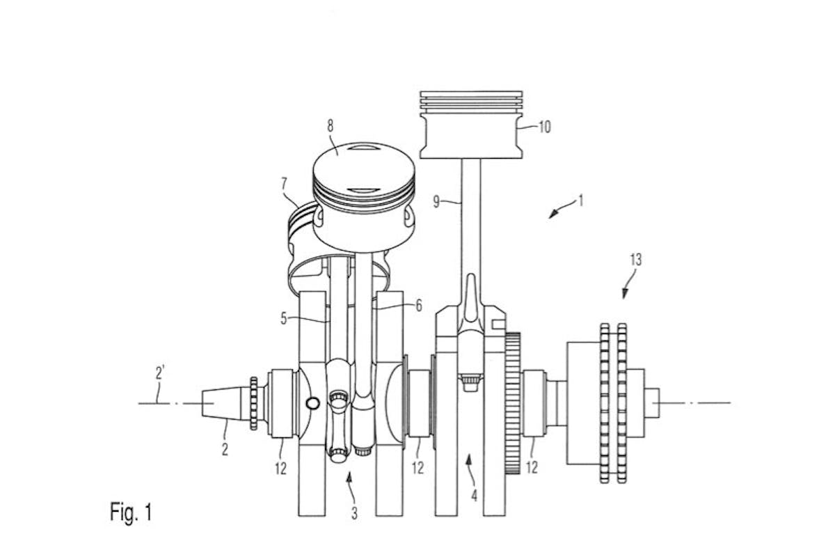
According to the filing, “The invention relates to a reciprocating piston internal combustion engine having at least one first, one second and one third cylinder and having a crank mechanism having a crankshaft, which is rotatably mounted in a crankcase, having a first, a second and a third crankpin, wherein a first connecting rod having a first piston for the first cylinder is allocated to the first crankpin, a second connecting rod having a second piston for the second cylinder is allocated to the second crankpin and a third connecting rod having a third piston for the third cylinder is allocated to the third crankpin, wherein the crankpins are arranged successively in an axial direction of the crankshaft, wherein the cylinders are arranged in a fan shape.”
From our perspective, the goal of these patents is to build engines with three cylinders that fit into the space currently occupied by two-cylinder engines, without impacting engine output and performance.
In both designs, the layout shows somewhere around 65-75° separation between the end cylinders, like a traditional V-style engine. There are two different engines pictured – the one above has three cylinders and three crankpins, operating much like an inline triple cylinder-style engine.
The second design (right) has the front and rear cylinders working from one crankpin, and a second pin, offset 90 degrees from the first, that operates the third cylinder.
The tight configuration in an air-cooled format like this and with pushrods used for valvetrain actuation make the compact engine design perfect for use in a motorcycle. Even more so for the traditional ‘early-adopter’ that might be considering a BMW cycle; it will be interesting to see if either or both of these concepts ever come to life.
You might also like
Power Combo — Running Gas Ported Rings With Gas Ported Pistons
While it might seem like putting a hat on a hat, using both gas-ported pistons and piston rings has turned out to be quite the combo.
