If you have ever heard music played on an out-of-tune guitar then you know it is among the most annoying things you can listen to. For engine guys, a poorly running engine has much the same effect.
So, here’s the scenario. A friend recently purchased a big-block Mopar fitted with a big camshaft. The previous owner mentioned that it might need a little tuning to make it run better. Later our friend noticed that no amount of idle mixture tuning improved the car’s tendency to run rich.
Worse yet, any attempt at leaning the idle mixture only worsened a disagreeable off-idle stumble. Our friend liked the way the engine sounded at idle, but he hated the way it ran most of the time and how quickly it fouled spark plugs. It found him second-guessing his decision to buy the car in short order.

If this scenario sounds all too familiar, there’s a solution that does not require changing cams or anything more than modifying the carburetor by drilling a few holes. By reviewing a few facts about how the idle circuit works in a carburetor, we can show how a few simple modifications can make that engine behave properly. Let’s start with how the idle circuit operates, specifically with the Holley 4150 and 4160.
Idle Circuits are a Tuner’s Workshop
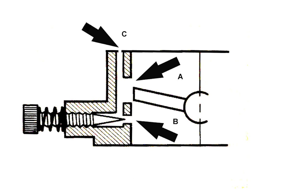
The idle circuit sources fuel from the float bowl and introduces it into what is called the idle well, where it is mixed (emulsified) with air. The fuel and air mixture then passes through a small restrictor that determines how much fuel will be supplied to the engine from the idle circuit. This emulsified fuel and air package is adjusted one last time as it passes the idle-mixture screw before entering the intake manifold below the throttle blades.
There’s also a second, parallel, idle circuit that splits off the main idle passage after the idle restrictor. This is the transfer slot circuit. Looking at the bottom of a Holley throttle bore as the butterflies are opened you’ll notice the throttle blade uncovers a small slot. This transfer slot introduces additional fuel to compensate for more air entering the engine during the first 10 to 20 degrees of throttle opening. The fuel is added to ensure a proper air-fuel ratio until the throttle opens enough to initiate fuel from the main metering circuit that exits the boosters.
From the factory, Holley prefers to position the throttle blades so that only a very small initial part of the transfer slot is exposed to engine vacuum at idle. Generally, this portion of the slot is no more than around 0.020- to 0.030-inch. Problems begin when a larger camshaft with long-duration numbers and more overlap is installed in the engine. This additional overlap reduces idle vacuum from a normal 12 to 16 inches of mercury (inHg) to less than 10 inches of vacuum. The higher the manifold vacuum at idle the greater the difference between atmospheric pressure and manifold vacuum.

It is this difference between high atmospheric pressure and low manifold vacuum that moves fuel through a carburetor. But with lower idle vacuum, this pressure difference is reduced, so the carburetor must make it easier for the air to enter the engine by reducing the restriction. This requires opening the throttle plates at idle by adding perhaps as much as a full turn or more at the idle speed screw on the primary side of the carb.
The Domino Effect
This creates a major change in how the carburetor operates. This greater-than-normal throttle blade opening at idle (to bring in the same amount of air) uncovers more of the transfer slot. With this change, fuel is introduced into the engine from the transfer slot that is not metered by the idle-mixture screw, creating an excessively rich mixture. The natural move then is to lean out the idle-mixture screws to produce a decent idle air-fuel ratio.

Unfortunately, this now causes other problems. When the driver attempts to lightly accelerate from idle, the engine will stumble or hesitate because the circuit is now too lean (remember, with the throttle blades open wider with the increased idle speed, the transfer slot is now having a larger portion of its flow used at idle). The next attempt to “cure” this problem is to increase the accelerator pump squirter size. This only results in more sluggish performance but rarely cures the hesitation.
The best solution is to reposition the throttle blades so that the transfer slot is almost completely covered. To accomplish this entails drilling idle air bypass holes in the throttle blades. This will allow additional air into the intake manifold while allowing the primary throttle blades to reside in their original stock location, with only a very small amount of the transfer slot uncovered.

Speed Holes
One technique you can try before drilling holes is to add a half-turn or so to the secondary throttle blades. Be conservative with this change on the secondary side, but it can be used to help in cases where only a small change is needed on the primary side to minimize the exposure of the transfer slot.
If this secondary adjustment trick is only minimally effective, the only remaining solution is to drill holes in both the primary and secondary throttle blades on the leading side of the throttle bores. The key here is to start with small holes — perhaps 1/8-inch. Getting the hole size right will likely require experimentation by increasing the size of the holes in small increments until it is possible to cover most of the transfer slot.
This will also require resetting the idle speed screw each time in order to evaluate the change. This may take several sessions of removing the carburetor, draining the fuel, turning the carb over, drilling the holes, and then reinstalling the carb. This could easily take a few hours to execute but will result in a much cleaner running engine at idle.

Once the transfer slot exposure is back to its near-stock location with no more than about 0.030-inch (or less, preferably) of the slot exposed, you can now adjust the idle-mixture screws to achieve the highest engine vacuum possible. This may take some time, especially if you are working on a Holley carburetor with a four-hole idle circuit. Make small, incremental changes in order to sneak up on the idle-mixture setting and make sure all four idle-mixture screws are adjusted as equally as possible.
Once this is achieved, drive the car while closely observing how it reacts just off idle. Assuming the transfer slot circuit is working properly, it’s possible the engine will now require less accelerator pump fuel to accelerate the engine normally. Test this by trying a slightly smaller accelerator pump squirter nozzle and evaluate the change. If the engine stumbles, simply return to the previous squirter size. It’s often possible to create a very crisp throttle with less fuel. Too much fuel from the accelerator circuit will make the response to throttle input lazy and could even cause a stumble that might be misinterpreted as a lean stumble.
This tuning process is not difficult, but most tuners are unwilling to commit the time to effect the changes. If all this seems to be more work than you want to put into an older carburetor, there is another solution. Holley offers the Ultra XP line of competition-oriented 4150 carburetors with an idle air bypass circuit built into the middle of the carburetor, parallel to the air cleaner stud location.
This adjustable circuit allows the tuner to allow additional bypass air into the engine with a simple needle and seat arrangement. This allows the tuner to adjust the idle speed without affecting the relative position of the throttle blades to the transition slot. These Ultra XP carbs come in 600, 650, 750, 850, and 950 cfm sizes.
Also keep in mind that once the holes are drilled in the throttle blades, this carburetor will be of limited use on other engines. But, if you’re struggling with a poorly running engine and a rich idle circuit because the transfer slot is exposed, this is the best way to bring that carburetor back into proper tune.
You might also like
Carb Vs. EFI — Testing A Gen-3 Ultra Dominator And A Terminator 4500
As the carburetor vs. EFI debate continues to rage on, Holly's Terminator X Stealth 4500 seems to strike a solid blow. Results from this test are impressive, but will they settle the argument once and for all?
 
			 
					 
                         
                         
                         
                         
						