As you may recall, we’ve followed the Nissan variable compression “VC Turbo” engine from concept to actual production. While some condemned it as a sideshow novelty technology, it appears that other manufacturers are looking at the same technology, as evidenced by this patent assigned to General Motors for an “Independent Compression and Expansion Ratio Engine with Variable Compression Ratio.”
While the patent abstract and submitted illustrations are informative, thankfully we have someone like Jason Fenske of Engineering Explained to break it down barney-style for us, and not only explain the patent, but the theories and technologies behind it.
Filed in December of 2016 and granted in November of 2018, this technology isn’t something GM is just starting on. Automakers across the board are looking for ways to incorporate both enhanced economy and decent power output into a single engine, and this design is one way to do that.
Compression Ratio vs. Expansion Ratio
Right in the title of the patent, GM identifies that this is more than just a variable compression engine, by calling it the “Independent compression and expansion ratio engine.” The first step is to define those terms and clarify the difference between them.
“First, we need to define compression ratio,” says Fenske. “If you measure the volume of the cylinder with the piston at bottom dead center of the its travel on the compression stroke, divided by the volume of the cylinder at top dead center of the compression stroke, you get your compression ratio.” Seems simple enough, right?
“The expansion ratio is defined as the volume of the cylinder at BDC of the power stroke, divided by the volume of the cylinder at top dead center of the compression stroke,” says Fenske. “In the typical engine, the compression ratio is equal to the expansion ratio.”

However, there is a slight drawback to the compression and expansion ratios being equal in a traditional Otto Cycle engine. “As the piston reaches BDC of the power stroke, there is still a significant amount of pressure in the cylinder. That also happens to be when your exhaust valve opens and all of that pressure gets blown out the exhaust port, which is just wasted energy,” explains Fenske.
“If you could continue to use that pressure to push the piston down, beyond BDC, you could get more useful work out of that combustion pressure. More work from the same amount of fuel combusted during the power stroke means higher efficiency from the engine.”
The Modern Atkinson Cycle
So while a traditional engine is mechanically limited to having the same stroke length throughout the four stages of operation, there is a way to effectively change the compression ratio without changing the physical stroke of the engine. “Engineers are very clever, and came up the Modern Atkinson Cycle,” says Fenske.
“That cycle has the intake valve stay open during the compression stroke, to vent some of that intake charge out the intake valve, before the valve closes and the charge begins to compress, effectively lowering the compression ratio.” This system is currently being employed by some automakers as an “efficiency mode” in their engines.

“This method allows a compression ratio to be different than the expansion ratio, while the mechanical stroke lengths of each cycle are exactly the same. The challenge with that method, is that obviously there is less air to burn, so it produces less horsepower.” Fenske says. “In a Modern Atkinson Cycle, the engine makes power more efficiently, just not as much power overall. It’s great for an engine looking for high MPG numbers, not so much for engines looking for power numbers.”
This video shows how the Modern Atkinson Cycle is currently being employed by automakers.
The Traditional Atkinson Cycle
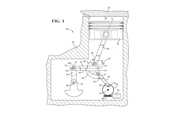
However, looking at the patents you can see that there is a complex set of gears and linkages. To understand what those are, you need to look at the Traditional Atkinson Cycle. “Just like you are used to seeing [in an Otto-cycle engine] it has the traditional intake, compression, power, and exhaust, strokes. However the biggest difference is that in an Traditional Atkinson Cycle, the crank only rotates 360-degrees during all four strokes.” Fenske Explains
“However, the piston still cycles up and down twice, with the connecting rod moving vertically and laterally, but thanks to a complex linkage using several fixed points, all that movement leads to a single revolution of the crank, not the traditional two rotations per four strokes. This leads to a back and forth “jumping” motion of the connecting rod in the Atkinson cycle engine, instead of the circular motion you are used to seeing in a traditional Otto Cycle engine.”
An animation of the Traditional Atkinson Cycle in action.
The geometry of those fixed points in a Traditional Atkinson system allows for there to be a mechanically shorter compression stroke and mechanically longer power stroke. The different piston movements create separate compression and expansion ratios. So with that system, they have achieved their “Independent compression and expansion ratios.”
“[The Traditional Atkinson Cycle] is a very simple system which looks a lot more complicated that the traditional Otto cycle, but in principle it really is fairly simple,” says Fenske. However, we don’t all have his engineer superbrain, so we’ll have to take his word on the Traditional Atkinson being “simple”.
General Motors Patented Design
Looking at the patent, we’ve surmised how they will achieve the efficiency – through the differential between compression and expansion ratios – but how is the power part of the equation going to come about? This is where Fenske’s keen eye and engineering knowledge really come into play.
“By creating something resembling a traditional Otto-cycle engine, but with an Atkinson-style linkage, with the fixed point of the linkage on a gear, attached to an electronically controlled worm gear, they can alter the geometry of the whole engine on the fly,” Fenske says.

“By rotating the gear with the fixed point on it, you are altering the location of that fixed point. The crankshaft remains in the same position, so by altering that geometry you can decrease the compression ratio on the fly.”
Contrary to normal hot-rod logic, Fenske supposes that the higher compression settings would be used for efficiency, while the lower compression configuration would be used for power. “The lower compression would allow the engine to able to run far more ignition advance. Likely, forced-induction would be added to this engine, and that only enhances the benefits,” says Fenske.
“It’s a clever solution, where instead of the modern Atkinson style you have a traditional style Atkinson engine, with a modern twist of allowing for variable compression ratio as well. This design allows shifting the piston motion curve in your favor, whether you are looking for efficiency or power.”
So while this patent could mean a lot of things, it could also amount to nothing. As Fenske points out, patents are extremely simplified, and the resulting engine, if it ever actually makes it into testing or production, could look totally different, internally, than the patent suggests. However, it does show that the General is looking for innovative ways to keep up with modern technology.
You might also like
SEMA 2025: Melling DOD-delete kit Now Includes Emissions Tuning
Melling adds tuning to the DOD-delete kit. This package for LS/LT engines includes the hard parts and an HP Tuners tool.