When it comes to creative combustion engine development, Mazda deserves a spot right at the top. From the recent reveal of its resurrected rotary engine program and driver-oriented Skyactiv diesel powerplants intended for European and Asian markets, Mazda’s innovation continues to impress.
While there is little room within an EngineLabs article for a dive into Mazda’s “Kodo” design language or the handmade Hiroshima-based materials that many might overlook, it all adds up to one fundamental fact: Mazda may be small, but it goes all-in when it comes to automotive manufacturing.
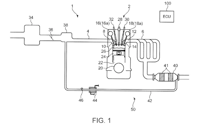
Take Mazda’s determination to throw a second spark plug at its clever (yet clearly flawed) Skyactiv-X powerplant. A decision that may seem strange to some, brilliant to others, and just flat-out foolish to a few, this technology takes the potential found within an efficient, yet underpowered and finnicky engine, and adds additional spark to the situation.
There’s a really good reason why Mazda has applied for patented exclusivity to use this design, and then recently updated its patent request form with the United States Patent and Trademark Office (USPTO). For unlike most of the other auto manufacturers on this planet, this Japanese brand believes that super-efficient, fun-to-drive internal combustion cars are the future. Mazda just has to take the time to iron out a few kinks first…

Slowly Sailing Into the Skyactiv Storm
While Mazda’s dual spark plug US patent application was filed in the summer of 2022, updates to the patent application appear to have been made on February 2nd of 2023. So the development end is done, now Mazda just needs to finalize everything and get this patent implemented. Japan’s smallest automaker is eager to put this technology into play as quickly as possible and receive exclusivity rights for damn good reason too.
Although Mazda’s “SPark-Controlled Compression Ignition” (SPCCI) and Skyactiv-X engine design have been around for a hot minute, it has proven to have some teething problems. Drivers, critics, and engineering minds alike have found the design to be rough around the edges in the NVH department, and lacking in torque.
Even though MPG gains and clean combustion have been applaudable, comparisons to competing engines in equivalent classes have shown that Skayactiv-X power is pretty close to being classified as piss-poor.

Relying upon a compression ratio that borders on the extreme, gasoline-powered versions of the Skyactiv-X engine utilize diesel engine-style detonation design to make power. The intense heat of the high-compression engine assisted by spark-induced compression, causes the air-fuel mixture lingering within the combustion chamber to self-ignite, resulting in a cleaner burn and impressive fuel scavenging returns.
But there’s a problem. Much like their diesel-fuel counterparts, high-compression gasoline engines are often prone to unexpected bouts of spontaneous combustion when suddenly placed under heavy load. So while bumping around town at low speed or idling may not cause any issues, hitting that throttle hard or huffing it down the highway can result in some seriously unpleasant combustion woes.
So, Mazda needed a solution, and what its engineers came up with was something so simple, that it makes you wonder why we haven’t been utilizing this design for decades.

It May Not Feel Like Much, But It Is Just the Tip…
Looking to run on fumes, Mazda has made it so that its Skyactiv-X engines deactivate all spark plugs in low-throttle situations. Relying solely upon compression ignition to keep those pistons pumping, Mazda’s reliance upon excess heat and pressure as a secondary form of ignition post-compression is both a blessing and an albatross for the Skyactiv engine.
Referred to as “Homogeneous Compression Charge Ignition” (HCCI), this ultra-lean form of scavenging requires some pretty intense compression figures to properly function. The issue with this design though, is that if ambient temperatures are too toasty or chilly, engine knock will occur on the high side, with ignition woes being a concern on the frigid end.
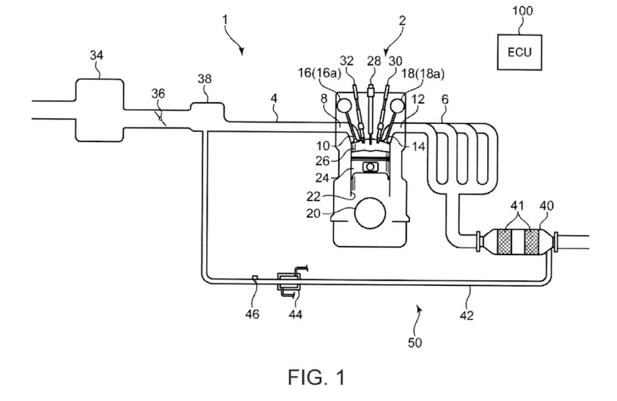
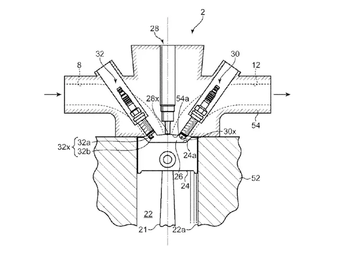
Which is precisely where those extra spark plug tips sitting atop each pot get put into play…
By taking the already efficient SPCCI system, and then giving it a diesel design that utilizes a series of separate, much smaller priming chambers for those spare spark plugs, Mazda’s engineers have all but eliminated temperature and torque-related ignition woes.
Outfitted with a backup source of spark, and a trio of transfer holes toward the top of the combustion chamber to allow the cavern to absorb and expel controlled amounts of the excess air-fuel mixture, this design fills in the gap when the primary chamber is in “ambient mode.”
Naturally, fuel injection quantities and timing remain crucial and were more than likely one of the biggest challenges with this Skyactiv engine redesign. But once blended and compressed, that extra chamber turns Mazda’s underpowered SPCCI woes into quite the potent concoction, here’s how it all happens…
Burning on All Jets
As for the actual firing process, Mazda’s main spark plugs function like they normally would, deactivating as needed when ECU engine timing and lack of throttle inputs dictate. And thus it is within the subsequent procedure that the Mazda magic happens.
Depending upon engine load and atmospheric conditions, the “backup plug” sets fire to the air-fuel mixture lingering in its chamber either simultaneously or immediately after the primary plug ignites. Being that the only way in or out of the chamber is through a trifecta of vent holes, the ignited mixture is forced back into the primary combustion chambers.

The result is a fiery-hot injection blast from not one, but all three port holes per pot. Primary ignition kicked into overdrive, and residual fumes set afire, combustion becomes more complete, therefore resulting in more power and even lower emissions.
Naturally, there is some pretty tricky ECU fine-tuning going on behind the scenes the entire time, as both sets of plugs must continue to work in tandem. Transitions between HCCI and spark ignition (SI) modes are in a constant state of flux. All in the hopes of maintaining a perfectly timed delayed ignition. One that can tardy the detonation phase to the precise moment where it can cause the Skyactiv-X engine to run smoother and stronger.

More Mazda Skyactiv Shenanigans to Come…
How much stronger you ask? Nobody really knows. Hell, we can’t even seem to source any solid leads on precisely how many pistons Mazda plans on pumping with this heavily updated Skyactiv-X patent design. But, there are a few things we can bet our bottom dollar on, and it all has to do with Mazda’s dedication to making cars for people who enjoy driving.
Unlike most automotive manufacturers, Mazda continues to bank heavily on internal combustion engine development advancements. May it be a lack of interest in EV advancements or insufficient funding due to being the smallest of Japan’s major car makers, Mazda remains far more invested in producing fun, fuel-efficient vehicles than semi-autonomous snoozers.

And while Mazda has shown a recent shift toward EV powertrains, it is the petrol-powered rotary portion of the platform that is clearly the most exciting section of the vehicle.
So here’s to hoping that Mazda sells a bazillion boring hybrid crossovers so that it can fund its next rotary-powered rocketship. Who knows? It might even have an additional set of spark plugs and a hybrid battery affixed to it somewhere…
You might also like
SEMA 2025: XR10 Motorsports Debuts 1,000HP LS V10 Engine
The XR10 Motorsports LS V10 is real. Debuting at SEMA 2025, this all-aluminum, 1,000-hp naturally aspirated engine reinvents a GM concept.